Deep V

March 24, 2026

Alex Kierstein

Two-engine, multi-motor series hybrid? Beyond the superficial absurdity is some fascinating thinking.

The line drawing looks bizarre, like someone in a confused state of mind superimposed the Bugatti 100P’s wild dual-engine layout onto a car. And then, for good measure, splayed out the two completely separate internal combustion engines. It seems absurd, something performative or theoretical. Patents don’t have to represent a workable idea—only a patentable one. But there are some clever reasons to have entirely independent gas engines in a single car, and some delightful Ferrari engineer(s) carried the idea all the way to its surprising conclusion.

I am fascinated by weird engine layouts, so I’m cautiously (maybe morbidly) intrigued by the oddballs and outliers. Most had some grounding in an engineering rationale—often it was grafting two engines together in an attempt to get additional output in a single installation without engineering an entirely new powerplant, or pushing an existing one beyond the limits of engineering in its time.

That’s where a lot of “conjoined” engine layouts originated. Consider the U-engine. In the early days of racing and aviation, there were some well-developed inline engines. But limitations in materials science meant that there were only so many cylinders you could line up before the crankshaft started moving like a jump rope, or worse. If you have a limited space, existing good engines, and limited funds, a U-layout could work. It uses two engine blocks parallel to each other, each driving their own crankshaft, and linking the output together in some way so it worked as one. Thus, two inline-sixes act as a single twelve, et cetera.

The downside is weight. Two separate engines equals two entirely separate cranks and mains. Even if the engines share a crankcase and sump, and perhaps even a camshaft(s), it’s heavier than a V-type engine. And then you have to link the outputs. With modern engine design, metallurgy and materials, and so forth, there’s essentially never a reason to use a U-layout. Just spec a V-layout engine to the right dimensions, or cram in a smaller motor and turbocharge it. 

Or you can bend the chassis, so to speak, around the powerplant — if the engine is the most important feature, design the hardpoints around it. 

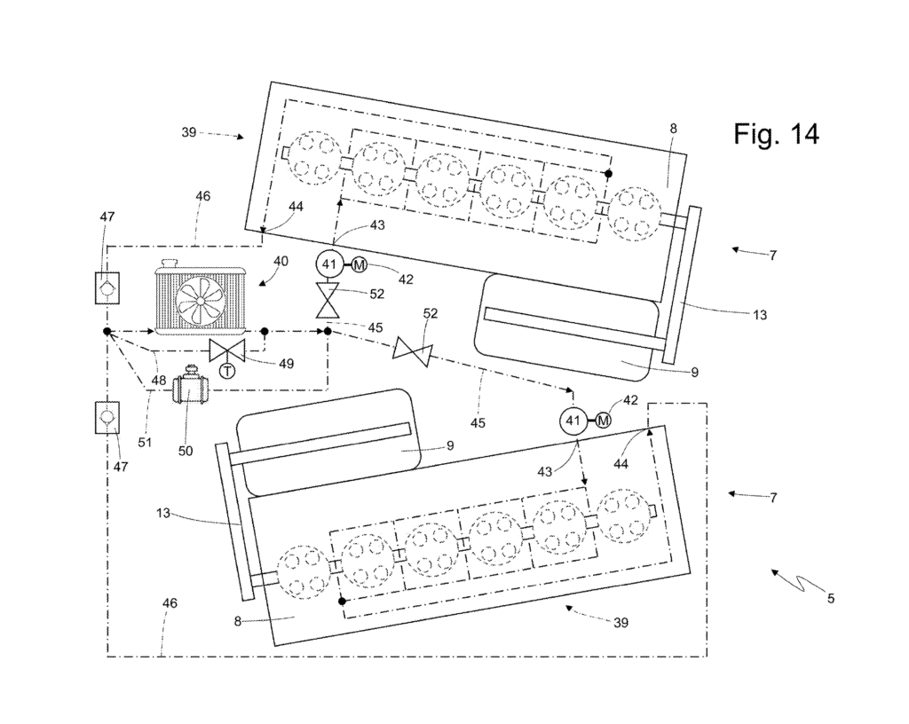
The least comprehensible solution to a problem involving engine configuration and layout is two completely separate engines, not geared to each other, not sharing any components, and not even mechanically connected to the rest of the drivetrain. But that’s what Ferrari has put forth in this patent. I don’t know if it makes sense from a “can you sell cars with this arrangement?” perspective, but the more I read about it, the more sense it makes to me.

This is a series hybrid configuration. The independent inline sixes are canted outboard at the front to clear the passenger cell, with a couple of yin-yanged generators in between. All the engines do is power the generators, which send energy to the e-motor(s). Ferrari’s patent, while written around the particular layout I’ve described, hedges quite a bit. The generators could be inline, attached directly to the output shaft of the engine instead of sitting next to it. There could be a generator at either end of the crankshaft. The number of cylinders, and arrangement of the cylinders, could be different. But in every embodiment of the patented idea, as far as I can tell, there are still two completely independent internal combustion engines driving at least two generators. 

Well, not completely independent. There are a few connections between them, the exhaust system being the most important. It’s a bit complex; valves are present to prevent exhaust pulses from one engine from interfering with the exhaust flow in the other. But it also lets the Ferrari run on only one engine, if needed, and the exhaust from the running engine can keep the catalytic converter heated up for the second engine. 

(You could accomplish the same thing by simply switching between the two engines occasionally when they’re in a power-generating mode, but hey, using waste heat from one to help the other is kind of neat. Incidentally, Ferrari also envisions this heat exchange for the oil system, keeping the turned-off engine’s oil warmed up and ready to flow.)

The valves are really there to allow Ferrari to fine-tune the exhaust note. They can blend the exhausts, but also, the ECU can synchronize or stagger the engines’ speed, which will produce a different sort of sound. The difference in speed would be minute—30 RPM on the high side, 15 RPM being ideal—but not a party trick most hybrids can pull off. 

Ferrari’s preferred layout also has the engines canted longitudinally forward, which in combination with their splayed-out lateral arrangement would provide the room in the center of the car for a rear diffuser of “extremely large dimensions” while minimizing drag.

While these engines are identical in the preferred embodiment, Ferrari also allows for a sequential arrangement: one engine could be tuned for raw energy output, the other for normal situations. Flipping on either one independently, or both together, would give a lot of overall output flexibility while still allowing the engines to be mainly tuned and otherwise optimized for maximum thermal efficiency at a limited RPM range.

There is a weight and mass benefit to Ferrari’s imagined layout. It envisions flywheel-less engines; the generators would apply torque precisely calculated to dampen the vibrations normally attenuated by a flywheel or similar device. In a different application, using a generator like this might actually save some significant weight. As a random example, a third-gen Prius flywheel is 12.8 pounds. That is the sort of mass that engineers dream of cutting from a vehicle. 

It also allows the vehicle to dump excess recovered energy—energy that can’t be absorbed by the battery—into the engines themselves. The generators would be used to spin the crankshafts, sending braking power through the driveshafts to the wheels. In that way, even regenerated braking energy the battery can’t absorb can be channeled through the generators and used, turning that excess energy into a braking force rather than dumping it into the conventional braking system as heat. Ferrari claims it allows for smaller conventional brake system components, and also this is a clever way of ensuring consistent brake behavior on track regardless of battery state-of-charge.

There are other benefits and quirks, but the rationale seems to be simple: a series hybrid wouldn’t be very enjoyable to drive by traditional enthusiast standards. The engine flips on and off in a manner completely disconnected from throttle input, braking isn’t optimized for performance, and energy is produced in a binary manner. The engine is either generating, or it’s off. Ferrari’s seemingly inexplicable twin-engine arrangement can blend running modes and exhaust sounds in much more flexible way.

It’s be fascinating to see the hard numbers reflecting the trade-offs here. What’s the weight savings for not having a transmission at all, or a flywheel, compared to the weight penalty of duplicating components like the crankshaft? 

I’ll say this: there are some clever ideas here under the veneer of absurdity. And if any automaker can put forward a hybrid that has two independent gas engines with a straight face, it’s Ferrari.

And, hear me out: Imagine an Alfa Romeo 4C-sized series hybrid with a couple of Ducati L-twins thrumming away through a shared exhaust dump. It’d be ludicrous. I’d love it.

Leave a Reply

Your email address will not be published. Required fields are marked *



Recent Posts

All Posts
The latest Chinese EV innovation involves cutting-edge battery tech going into a low-end vehicle, a strategy that is worth examining.
Alex Kierstein

March 27, 2026

An unimaginably small amount of the most expensive and exotic material on earth takes a spin in a Volvo truck—thankfully without annihilating anything. 
Alex Kierstein

March 25, 2026

Thinking about the Honda Fit on the 25th anniversary of its introduction.
Rory Carroll

March 24, 2026